MENU
A Family Company
x
HOME

HUB

HELP

ACCOUNT

CART
Hub
John (Hobbylinc)
Shared Pictures
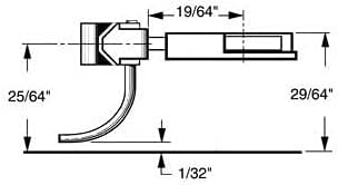
20 Series Magne-Matic Med Centerset Shank 9/32
Member Gallery
20 Series Magne-Matic Med Centerset Shank 9/32
Kadee 20 Series Magne-Matic Med Centerset Shank 9/32
$7.19
Member Picture
Member Picture
Member Picture
Member Picture
Member Picture
Areas
Plastic Models Model Trains Model Rockets Paints Airbrush Diecast
Books Arts & Crafts Free Flight Toys & Games Jigsaw Puzzles Science
Construction Kits Building Supplies Glues Tools Woodboats
Account
My Account Create Account Sign In/Out My Reviews My Lists My Pictures
Help
Toll Free Ordering Order Status Help Gift Certificates Contact Hobbylinc.com Accessibility
Hobbylinc
About Hobbylinc Reviews News-Letter
© 2025 Hobbylinc.com. All Rights Reserved.